企业的业务环境,必须保证全天候7X24的工作,因为如果系统、网络或者应用出现问题,势必会带来巨大的损失。因此,网络监控工具测量网络可用性,尽可能让其满足服务级别的要求,是网络管理的首要目标。
OpManager网络监控工具可对网络中的多种可用性进行监测,确保您的网络应用、服务和设备全天候的无故障运行。
OpManager网络监控工具的可用性指标包括:

OpManager可使用ICMP、SNMP、CLI等协议,按照指定间隔,定期对被管设备进行轮询,以监测设备的可用性。它提供可用性图表,可让管理人员快速了解网络中被管设备的状况。
同时,OpManager也允许管理员针对特殊情况,设置例外,以便更加准确的测量设备的可用性。如:计划维护时期、所依赖的上级设备出现问题等等情况下,停止对该设备的检测。

OPM基于SNMP,对设备的接口/端口可用性进行监控。它的可用性报表可显示每天、每周、每月或指定时间段内的接口可用性信息,帮助您确认SLA的级别。

OpManager使用Cisco的IP-SLA,监控WAN链路的可用性。它可以为用户提供详尽的网络跳的详细信息。同时,还监控WAN链路的延迟、带宽利用率、往返时间等有用的参数。为全面掌控WAN链路状态提供帮助。WAN链路监控.
TCP服务可用性监控:

OPM可以监控常用的,运行于特定TCP端口的系统级服务,也可以监控管理员指定的TCP端口,检测相应服务的应答时间,为用户提供可用性报表。服务监控。
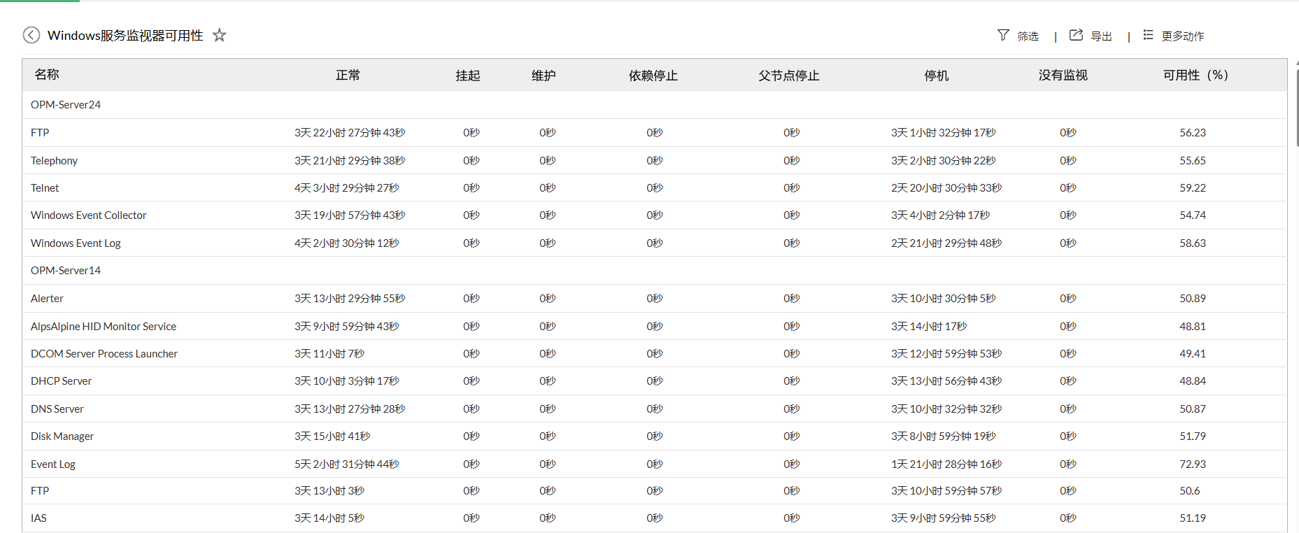
Windows服务可用性监控:

对于Windows服务器,OPM可使用WMI对Windows系统的服务进行监控。除了检测Windows服务的可用性,OPM还可以在发现服务停止时,自动重启服务或者服务器,来帮助管理员快速对应问题。
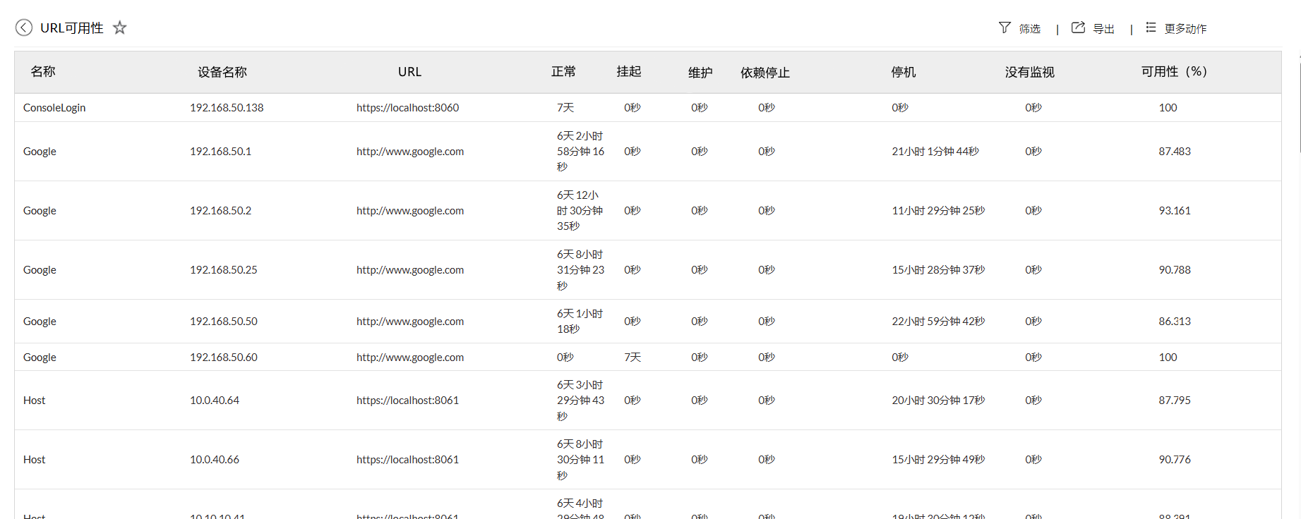
网站可用性监控:

OPM可以实时对您的关键网络站点进行监控,监控对象包括:HTTP/ HTTPS URL、内部站点、Web服务器群、需要提供登录信息的Web应用、 NTML认证的Web站点等。除了对URL运行状况的监控,还可以检测网站中的内容进行检查,以确保网站正常运行且没有被恶意篡改。
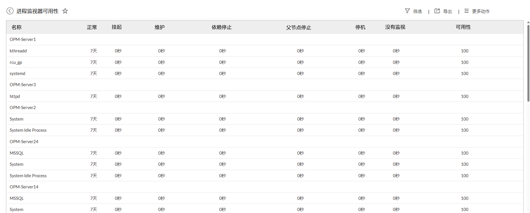
进程可用性监控:

OPM使用SNMP、WMI和CLI等协议,对运行在Windows、Linux、 Solaris、UNIX、HP UX、IBM AIX等系统下的服务器中的进程进行监控,以提供进程的可用性。点击了解更多关于进程监控工具。