请求列表视图
请求列表视图用于列出提交到ServiceDesk Plus的请求(包括事故和服务请求),通过请求视图,您可以:
- 基于过滤器查看请求
- 定制您自己的过滤器
- 查看归档的请求
- 定制列表视图中要显示的列
- 执行请求编辑、删除、指派、合并等操作
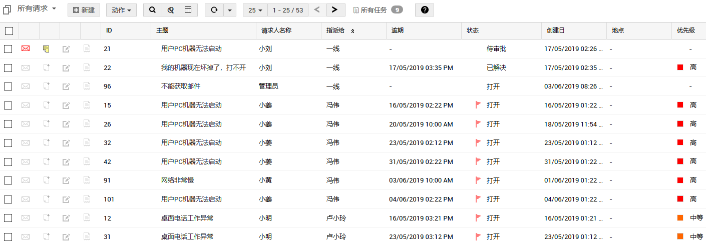
点击请求页签,画面就进入请求列表视图。默认情况下,显示所有未处理(状态为open)的请求。请求包括事故和服务请求。 如下图所示:

下面就画面中的各个部件进行说明:
- 过滤下拉菜单: 过滤下拉菜单由不同的过滤条件组成,包括三个分类:我的工作组、请求和我的视图。过滤选项还包括:服务请求、事故请求及服务/事故请求三个选项,分别用于显示服务请求、事故请求或者两个同时显示。归档的请求用于显示已经归档的请求。回收站用于显示被暂时删除的请求。
- 基于请求ID搜索请求:输入请求ID后回车,可直接查看相应请求的明细。
- 设置: 设置下拉菜单中,可以创建自定义视图,管理已有的自定义视图,设置请求列表视图的自动刷新时间。
- 创建自定义视图: 可以按照自己的过滤条件定制请求列表视图,让它只显示您所关心的请求。创建的过滤器可以设定公有和私有权限。
- 管理自定义视图:可以查看、编辑、删除您的自定义视图。
- 新建事故: 该按钮用于快速,直接地创建新的事故请求。
- 动作: 通过该下拉菜单,可对一个或多个请求进行编辑、删除、提取、关闭、合并请求的操作,也可进行链接请求的操作。
- 列搜索: 通过列表视图表列头中的搜索图标,可分别对相应的列的内容进行搜索。