基于NBAR的智能流量管理

识别和分类网络应用是有效管理网络带宽的关键。通过对网络流量进行分类,您可以根据Enterprise edition的需要对网络流量进行可视化、组织和优先排序。通过对网络流量进行识别和分类,网络管理员可以有效地应用QoS策略,从而优化网络带宽性能。

Cisco的基于网络的应用程序识别(NBAR)是一个分类引擎,为网络基础设施提供智能网络分类。它可以识别各种各样的应用程序,包括那些使用动态端口的应用程序。NBAR在处理使用已知端口伪造高优先级流量的恶意应用程序以及使用非决定性端口的非标准应用程序时非常有用。

像ERP、Citrix、VOIP这样的应用程序是至关重要的,需要启动并运行,以保证日常业务的顺利运行。但其他低优先级应用,如p2p、Skype、Kaaza等,则消耗高带宽并使用动态端口进行通信。在没有NBAR的情况下很难发现这些应用程序,并且由于访问控制列表的限制几乎不可能。这些应用程序可能会阻塞企业带宽,导致网络性能低下。使用NBAR,您可以在应用层本身识别它们,并定义适当的QoS策略。NBAR对网络数据包进行深入检查,以确定占用企业带宽的实际应用程序。一旦识别出应用程序,网络管理员就可以为该特定应用程序分配特定的QoS策略。

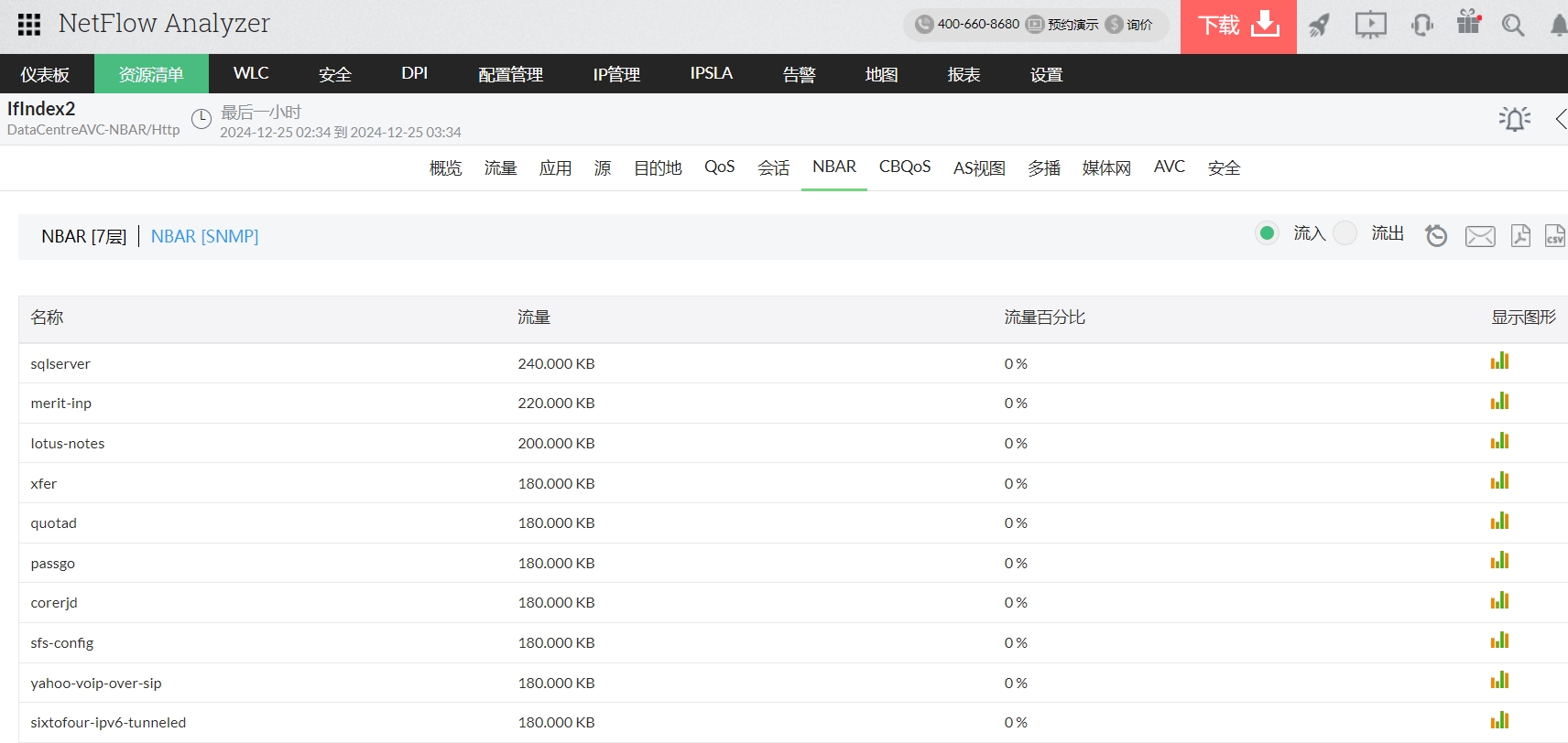
Nbar report
traffic utilization alerts

ManageEngine NetFlow Analyzer检索NBAR数据并报告各种应用程序及其流量和占总流量的百分比。这些报告可以从最近一小时到最后一个季度得到。从这些报告中可以很容易地识别使用最大带宽的应用程序并为其应用QoS策略。如果发现这些应用程序是非关键的,可以标记和阻止。如果它们是关键的,网络管理员可以给予它们最高的优先级。NBAR通过识别关键应用程序并应用QoS策略来帮助您确保关键应用程序的性能,从而提高企业网络带宽的总体性能。

下载 | 交互式 演示 | 产品概述视频

NetFlow Analyzer是一个NetFlow、sFlow、JFLow(更多)收集器和分析引擎集成在一起。30天内可在任何网络环境下使用NetFlow analyzer,无需下载任何硬件。浏览以下有用的链接,以更好地了解NetFlow Analyzer如何帮助您了解网络流量和带宽利用率。

典型客户

合作伙伴

相关产品