更新时间:2024年12月16日 阅读时长:约2分钟
在 IT 环境中,编排指的是对工作流、应用程序和系统的协调管理,旨在通过简化流程来优化业务性能。IT 管理员可以通过编排,从单个控制台自动执行一系列任务,例如预配账户帐户、数据库管理、事件处理、应用程序和云资源管理。

编排对支持分布于本地和云端的 IT 服务的大型工作流至关重要。那么,为什么企业需要编排呢?
一、身份管理中编排的重要性
编排是现代 IT 环境中的一个关键过程,能够帮助组织管理和协调多个系统和应用中的账户身份及访问权限。
二、自动预配和取消预配
编排有助于简化和加速预配和取消预配帐户的过程,从而更轻松地管理和扩展基础结构。

雇佣新员工时,编排模板可为其在多个应用程序中创建账户,并根据他们在企业组织中的角色提供对相应资源的访问权限。同样,当员工离职时,编排模板可将账户移动到不同的组织单位(OU),并根据公司政策在设定时间后禁用或删除账户。它确保资源配置的一致性和安全性,降低人为错误的风险。
三、统一的身份管理系统
为了建立实施身份管理的统一平台,业务流程协调和指导企业组织内与身份相关的信息流。这包括将目录、数据库和云服务等多个身份管理系统整合为一个系统,同时同步和整合账户数据、对齐不同的标识符,并强制执行一致的访问策略和安全控制。通过实施身份编排,组织能够更好地了解账户及其访问系统,从而提高账户生命周期管理流程的效率和安全性。
四、提高组织敏捷性
编排支持在整个环境中自动执行和管理应用程序和服务的部署和配置。这样可以更轻松地根据需要扩展应用程序和服务。账户帐户、组、组权限等可以立即同步,从而减少 IT 管理员在环境中设置应用程序或系统所花费的时间。这简化了组织内的工作流,并可用于对系统配置动态实施安全策略,并授予授权账户访问所需数据的权限。
五、提升账户体验
通过消除账户获得资源访问权限的等待时间,编排能够在账户加入组织后立即提升其使用体验。它确保所有账户从第一天起就能访问执行其工作所需的资源。编排简化了账户的使用流程,提供无障碍的体验,同时降低了维护环境的成本。
六、ADManager Plus 中的编排功能

ManageEngine ADManager Plus 是一款统一的 AD域管理、Exchange 和 Microsoft 365 管理与报告解决方案。其编排功能允许 IT 管理员指定任务序列,并自定义任务之间的时间延迟和执行顺序。管理员可以通过编排模板设定条件,触发自动化任务,如批量创建账户、分配资源、调整权限等。
使用ADManager Plus进行自动化计划管理
比如你负责的公司有人离职,账号通常不会马上删除,那么时间长了还会想起来去删除吗?时间长了再删确定能找到它吗?ADMP里面的自动化功能就能帮你做这些事,设置好需要做的动作,时间,把管理员从繁重的劳动中直接解放出来。
此外,集成的 Webhook 模板支持 REST API 的应用,帮助跨多个系统同步账户信息。借助此功能,账户可被自动添加到 IAM 工具、ITSM 系统等,并通过电子邮件或短信通知相关方。
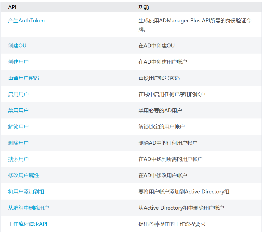
ADManager Plus API及其相应功能列表

推荐大家使用 ADManager Plus 的编排功能,管理工作中遇到的繁琐内容可以直接通过简单设置添加实现,简化了账户生命周期管理。ADManager Plus 可以提供一次免费个性化演示的机会,专业的解决方案专家将向您展示如何与公司内部环境结合使用,还可以一对一的对您的疑问进行解答。